一种锰铬模具钢制作用切割装置的制作方法


1.本实用新型涉及锰铬模具钢制作技术领域,具体为一种锰铬模具钢制作用切割装置。
背景技术:
2.随着工业生产技术的发展和不断出现的新材料,模具的应用日益广泛,电器、日用品、机电商品,塑料、橡胶、建筑材料到汽车零部件都离不开模具,模具已成为工业发展的基石,制作模具原料模具钢的性能、质量、品种等面临更高更新的技术要求,为适应不同要求的新型模具,世界各国都在积极开发具有各种特性的模具钢,冷作模具钢中的高锰高铬钢材具有高度耐磨性因此被广泛应用,在高锰高铬钢摸具的切割加工中容易产生大量废屑,传统的切割装置不具备收集废屑的能力,容易造成环境污染,另一方面传统的切割装置只具有进行单一的切割功能,因此需要在原有的到锰铬模具钢制作用切割装置的基础上进行创新改进。
技术实现要素:
3.本实用新型的目的在于提供一种锰铬模具钢制作用切割装置,以解决上述背景技术中提出的在高锰高铬钢摸具的切割加工中容易产生大量废屑,传统的切割装置不具备收集废屑的能力,容易造成环境污染,另一方面传统的切割装置只具有进行单一的切割功能,使用起来不够便捷的问题。
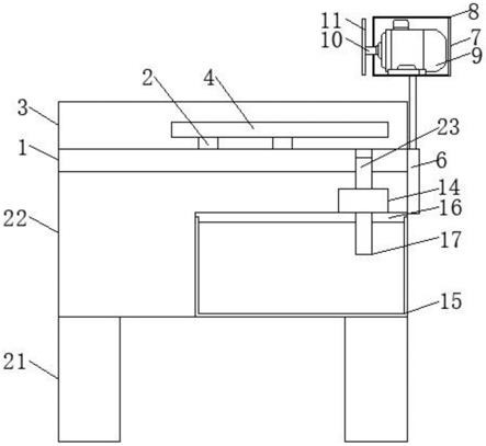
4.为实现上述目的,本实用新型提供如下技术方案:一种锰铬模具钢制作用切割装置,包括工作台,所述工作台上设置有电磁吸盘和防护板,且电磁吸盘上设置有钢模具,所述工作台上开设有切割槽,且切割槽设置在吸盘的右侧,所述工作台的右侧设置有**电动伸缩杆,且**电动伸缩杆后侧设置有第二电动伸缩杆,所述**电动伸缩杆顶部与**设备箱连接,且**设备箱上设置有**设备箱盖,所述**设备箱内设置有**电机,且**电机通过**电机轴与切割刀片连接,同时切割刀片设置在切割槽的上方,所述工作台下方设置有存储箱,且存储箱内设置有集尘箱,同时集尘箱上设置有集尘箱盖,所述集尘箱盖上设置有气泵,且气泵上方与**吸尘管的底部连接,同时**吸尘管中间位置与第二吸尘管连接,所述**吸尘管和第二吸尘管均设置在切割槽下方,且**吸尘管设置在切割刀片的下方,同时第二吸尘管设置在**吸尘管的后侧,所述存储箱前侧设置有存储箱门,且存储箱门上设置有把手。
5.优选的,所述防护板对称设置在工作台的前后两侧,且工作台上对称设置有四个电磁吸盘。
6.优选的,第二电动伸缩杆顶部与第二设备箱连接,且第二设备箱上设置有第二设备箱盖,同时第二设备箱内设置有第二电机,第二电机通过第二电机轴与抛光轮连接。
7.优选的,所述气泵底部与出尘管顶部连接,且出尘管远离气泵的一端贯穿集尘箱盖顶部设置在集尘箱内。
8.优选的,所述切割刀片和抛光轮分别与**电机和**电机轴以及第二电机和第二电机轴构成转动结构,且抛光轮设置在切割槽上方。
9.优选的,所述存储箱通过铰链与存储箱门转动连接,且存储箱底部对称设置有支撑柱。
10.与现有技术相比,本实用新型的有益效果是:该锰铬模具钢制作用切割装置,
11.(1)设置有切割刀片,在**电动伸缩杆的作用下**电机通过**电机轴带动切割刀片对钢模具自上而下进行切割,同时在第二电动伸缩杆的作用下,第二电机通过第二电机轴带动使得抛光轮转动,抛光轮可对切割之后的切割面立即进行抛光,从而丰富装置的功能性,使用起来较为便捷;
12.(2)设置有气泵,在气泵的作用下**吸尘管和第二吸尘管可将钢模具切割时产生的废屑吸入,并通过出尘管排入集尘箱内,从而防止废屑污染环境,设置有防护板,便于防止在切割过程中废屑飞溅,伤害工作人员,从而起到一定的防护作用。
附图说明
13.图1为本实用新型正视剖面结构示意图;
14.图2为本实用新型俯视结构示意图;
15.图3为本实用新型**吸尘管、第二吸尘管和集尘箱侧视结构示意图。
16.图中:1、工作台,2、电磁吸盘,3、防护板,4、钢模具,5、切割槽,6、**电动伸缩杆,7、**设备箱,8、**设备箱盖,9、**电机,10、**电机轴,11、切割刀片,12、抛光轮,13、第二吸尘管,14、气泵,15、集尘箱,16、集尘箱,17、出尘管,21、支撑柱,22、存储箱,23、**吸尘管, 26、第二设备箱盖,28、第二电机轴。
具体实施方式
17.下面将结合本实用新型实施例中的附图,对本实用新型实施例中的技术方案进行清楚、完整地描述,显然,所描述的实施例仅仅是本实用新型一部分实施例,而不是全部的实施例。基于本实用新型中的实施例,本领域普通技术人员在没有做出创造性劳动前提下所获得的所有其他实施例,都属于本实用新型保护的范围。
18.请参阅图1
?
3,本实用新型提供一种技术方案:一种锰铬模具钢制作用切割装置,如图1和图2所示,工作台1上设置有电磁吸盘2和防护板3,防护板3 对称设置在工作台1的前后两侧,且工作台1上对称设置有四个电磁吸盘2,电磁吸盘2便于将钢模具4进行固定,且电磁吸盘2上设置有钢模具4,工作台1 上开设有切割槽5,且切割槽5设置在吸盘2的右侧,工作台1的右侧设置有**电动伸缩杆6,且**电动伸缩杆6后侧设置有第二电动伸缩杆,第二电动伸缩杆顶部与第二设备箱连接,且第二设备箱上设置有第二设备箱盖26,同时第二设备箱内设置有第二电机,第二电机通过第二电机轴28与抛光轮12连接,便于在第二电机的作用下,带动第二电机轴28与抛光轮12转动,从而对钢模具4的切割面进行抛光。
19.如图1和图3所示,**电动伸缩杆6顶部与**设备箱7连接,且**设备箱7上设置有**设备箱盖8,**设备箱7内设置有**电机9,且**电机9通过**电机轴10与切割刀片11连接,同时切割刀片11设置在切割槽 5的上方,工作台1下方设置有存储箱22,且存储箱22内设置有集尘箱15,同时集尘箱15上设置有集尘箱盖16,集尘箱盖16上设置有
气泵14,且气泵14 上方与**吸尘管23的底部连接,气泵14底部与出尘管17顶部连接,且出尘管17远离气泵14的一端贯穿集尘箱盖16顶部设置在集尘箱15内,便于在气泵14的作用下,将切割与抛光过程中产生的废屑通过**吸尘管23、第二吸尘管13和出尘管17排入集尘箱15内,从而对废屑进行收集,防止废屑污染环境,同时**吸尘管23中间位置与第二吸尘管13连接,**吸尘管23和第二吸尘管13均设置在切割槽5下方,且**吸尘管23设置在切割刀片11的下方,切割刀片11和抛光轮12分别与**电机9和**电机轴10以及第二电机和第二电机轴28构成转动结构,便于在**电机9和第二电机的作用下,分别带动**电机轴10和第二电机轴28转动,从而带动切割刀片11和抛光轮12的转动,对钢模具4进行切割与抛光,抛光轮12设置在切割槽5上方,且第二吸尘管13 设置在**吸尘管23的后侧,存储箱22前侧设置有存储箱门,且存储箱门上设置有把手,存储箱22通过铰链与存储箱门转动连接,且存储箱22底部对称设置有支撑柱21,支撑柱21起到支撑整个装置的作用。
20.工作原理:在使用该锰铬模具钢制作用切割装置时,将钢模具4放置在工作台1前侧的两个电磁吸盘2上,同时将待切割一端放置在切割槽5上方,接着连接电源,启动前侧电磁吸盘2,电磁吸盘2起到固定钢模具4的作用,然后启动**电动伸缩杆6和**电机9,在**电动伸缩杆6的作用下,**电机 9将通过**电机轴10带动切割刀片11旋转,从而对钢模具4自上而下进行切割,当切割完成之后,可关闭前侧的电磁吸盘2,将切割之后的钢模具4取下,放置在后侧的两个电磁吸盘2上并将其启动固定钢模具4,第二电机将带动第二电机轴28转动,从而带动抛光轮12转动,在第二电动伸缩杆的作用下,对钢模具4的切面进行上下反复抛光,同时气泵14可通过**吸尘管23和第二吸尘管13将切割和抛光过程中产生的废屑进行收集,并通过出尘管17排入集尘箱15内,当集尘箱15内部的废屑需要清理时,可通过转动把手将存储箱门打开,然后取下集尘箱盖16,即可对集尘箱15内部的废屑进行清理,防护板3可防止在切割和抛光过程中废屑飞溅对工作人员造成伤害,起到保护工作人员的作用,当**电机9和第二电机出现故障时,可分别将设备箱盖8和第二设备箱盖26取下,从而对**电机9和第二电机和进行维修,**设备箱7和第二设备箱可避免废屑污染**电机9和第二电机,支撑柱21起到支撑装置的作用,这就完成了全部工作,本说明书中未作详细描述的内容属于本领域专业技术人员公知的现有技术。
21.术语“中心”、“纵向”、“横向”、“前”、“后”、“左”、“右”、“竖直”、“水平”、“顶”、“底”、“内”、“外”等指示的方位或位置关系为基于附图所示的方位或位置关系,仅是为便于描述本实用新型的简化描述,而不是指示或暗指所指的装置或元件必须具有特定的方位、为特定的方位构造和操作,因而不能理解为对本实用新型保护内容的限制。
22.尽管参照前述实施例对本实用新型进行了详细的说明,对于本领域的技术人员来说,其依然可以对前述各实施例所记载的技术方案进行修改,或者对其中部分技术特征进行等同替换,凡在本实用新型的精神和原则之内,所作的任何修改、等同替换、改进等,均应包含在本实用新型的保护范围之内。
原文链接:优钢网 » 一种锰铬模具钢制作用切割装置的制作方法
发表评论